text.skipToContent text.skipToNavigation

Bosch pribor za napu HEZ9VDKR0ID EK000467247

Bosch pribor za napu HEZ9VDKR0ID: EK000467247

Iskoristi mogućnost plaćanja do 24 rate!

Cijena
180,99 €

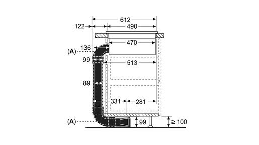
Bosch HEZ9VDKR0, Dodatni pribor za nape  Saznaj više

Dostavljamo već od 29.01.2026

Platite gotovinom pri preuzimanju, Internet bankarstvom, karticama jednokratno i na rate

Povrat robe moguć unutar 14 dana

Bosch HEZ9VDKR0, Dodatni pribor za nape
Tip proizvoda Dodatna oprema
Brand Bosch
Ovaj proizvod do sada nitko nije ocijenio, budite prvi! Kupite proizvod i ostavite recenziju!